量身定制
拒绝模板 定制风格
4.1.1 洁净厂房与其他工业厂房的区别在于洁净厂房内的生产工艺有空气洁净度要求。因此,设有洁净厂房的工厂厂址宜选在大气含尘浓度较低的地区,如农村、城市远郊、水域之滨等,不宜选择在气候干旱、多风沙地区或有严重空气污染的城市工业区。
根据国内外测试资料,农村空气污染程度较低,其含尘浓度一般只相当于城市含尘浓度的几分之一,甚至低一个数量级。而城市工业区的含尘浓度又远高于城市市区及市郊。不同地区含尘浓度也不同,如表1~表3所示。不同季节的含尘浓度也不相同,表4所列是天津市某地段不同季节室外含尘浓度的实测值。
表1 大气中含尘浓度
场所 | 计重浓度(mg/m3) | ≥0.5μm计数浓度(pc/m3) |
市中心 | 0.10~0.35 | 5.3×107~2.5×108 |
市郊 | 0.05~0.30 | 3.5×107~1.1×108 |
田野 | 0.01~0.10 | 1.1×107~3.5×107 |
大洋 | 1.1×105~2.5×106 |
表2 天津地区的大气含尘计重浓度
场所 | 大气计重浓度(mg/m3) | |
测值范围 | 平均值 | |
校园、住宅区 | 0.18~0.32 | 0.206 |
商业街区 | 0.23~0.41 | 0.291 |
工业区 | 0.27~0.59 | 0.437 |
从表1、表2中可以看出,各地区、场所大气环境质量差别较大,若在环境质量较差的地区建厂,设计中应采取有效的技术措施以确保洁净厂房的技术要求。
表3 大气含尘浓度平均值(大于或等于0.5μm)(pc/L)
地区 | 年平均 | 月平均最大值 | 月平均最小值 |
北京(市区) | 190 956 | 293 481 | 9274 |
北京(昌平农村) | 35 643 | 156 620 | 4591 |
河南(市区) | 128 052 | 365 103 | 34 327 |
西安(市区) | 131 644 | 317 561 | 29 738 |
表4 不同季节室外大气含尘浓度的实测值
季节 | 时间 | 环境温湿度 | 含尘浓度(pc/m3) | ||
温度(℃) | 湿度(%) | ≥0.5μm | ≥5.0μm | ||
夏(阴、雨后) | 9:00 | 26.1 | 89 | 8.20×107 | 3.23×105 |
10:00 | 27.0 | 86 | 8.35×107 | 3.58×105 | |
11:00 | 27.4 | 82 | 8.35×107 | 4.20×105 | |
12:00 | 28.8 | 79 | 7.25×107 | 2.95×105 | |
13:00 | 29.8 | 73 | 7.21×107 | 2.81×105 | |
14:00 | 29.6 | 73 | 7.42×107 | 3.36×105 | |
15:00 | 30.6 | 70 | 7.60×107 | 4.82×105 | |
16:00 | 30.2 | 70 | 6.81×107 | 4.81×105 | |
17:00 | 30.2 | 76 | 8.30×107 | 5.50×105 | |
秋(晴、无风) | 8:00 | 14.0 | 64 | 1.21×108 | 2.21×106 |
9:00 | 16.2 | 54 | 1.32×108 | 2.03×106 | |
10:00 | 19.0 | 42 | 1.31×108 | 1.80×106 | |
11:00 | 21.1 | 39 | 1.23×108 | 2.01×106 | |
12:00 | 22.4 | 34 | 1.43×108 | 1.83×106 | |
13:00 | 23.0 | 29 | 7.94×107 | 8.70×105 | |
14:00 | 24.2 | 37 | 1.03×108 | 1.04×105 | |
15:00 | 23.5 | 39 | 1.12×108 | 2.01×105 | |
冬(晴) | 8:00 | -6.1 | 51 | 5.4×107 | 3.9×105 |
9:00 | -4.5 | 44 | 6.6×107 | 4.0×105 | |
10:00 | -2.8 | 40 | 7.5×107 | 7.7×105 | |
11:00 | -0.8 | 28 | 5.9×107 | 4.1×105 | |
12:00 | 1.2 | 24 | 3.7×107 | 4.1×105 | |
13:00 | 2.3 | 16 | 2.4×107 | 4.3×105 | |
14:00 | 3.6 | 14 | 2.9×107 | 4.6×105 | |
15:00 | 3.6 | 14 | 2.7×107 | 5.1×105 | |
16:00 | 3.5 | 22 | 3.2×107 | 9.3×105 | |
17:00 | 3.0 | 25 | 5.3×107 | 12.4×105 | |
4.1.2 洁净厂房内当布置有精密设备和精密仪器仪表,若它们有防微振要求时,为解决防微振问题,在厂址选择或已建工厂内的洁净厂房场地选择过程中,需要对周围振源的振动影响作出评价,以确定该厂址或场地是否适宜建设。
周围振源对精密设备、精密仪器仪表的振动影响,是若干单个振源振动的叠加结果。这种叠加,目前还没有系统的参考数据及实用的计算方法。因此,应立足于实测。过去有的工厂,由于建厂前没有对周围各类振源的振动影响进行实测,建成后发现对精密设备、精密仪器仪表影响很大,有的甚至难以工作,给生产、试验带来很大困难,这说明实测振源振动影响是非常必要的。
4.1.3 本条规定仍以规范编制组的科研成果报告《环境尘源影响范围研究》为依据。根据上述报告,道路灰尘“严重污染区”位于道路下风侧50m范围之内,100m以外为“轻污染区”。洁净厂房最好离开车辆频繁的干道100m以外,但考虑到厂区总平面布置的可能性以及厂区围墙或厂内路沿绿化的阻尘作用等因素,本条规定洁净厂房与车辆频繁的干道之间的距离宜大于50m。
在《洁净厂房设计规范》GB 50073-2001(以下简称原规范)实施中,各地区、各设计单位认为本条规定距离的界定不明确,且考虑到道路的污染物对洁净厂房的影响主要是影响净化空调系统新鲜空气的质量,而洁净室(区)围护结构气密性较好的特点,本次修改为“新风口与交通干道边沿的最近距离宜大于50m”。
4.1.6 绿化有良好的吸尘、阻尘作用。洁净厂房周围场地绿化应以种植草坪为主,小灌木为辅,不宜种植观赏花卉及高大乔木。因为观赏花多为季节性一年生植物,需经常翻土、播种、移植,从而破坏植被,反而使尘土飞扬;而高大乔木树冠覆盖面积大,其下部难以形成植被,也易产生扬尘。
洁净厂房外围宜种植枝叶茂盛的常绿树种。洁净厂房周围绿化树种应选用不产生花絮、绒毛、粉尘等对大气有不良影响的树种。
4.2 工艺平面布置和设计综合协调
4.2.2 因生产工艺的不同,洁净厂房内常有多种气体、液体供应管道,如氢、氧、氮、氩、压缩空气和纯水、上水等管道,以及电气管线、净化空调系统的送回风管和局部排风管等,管线交叉复杂。因此,在进行管线综合布置时,必须在平面和标高上密切配合,综合考虑,才能做到安装、调试、清扫、使用和维修的方便及整齐美观。
对国内已建成的洁净厂房调研中,了解到为布置各种管道和高效过滤器等一般均设置了技术夹层或技术夹道,大多使用效果良好,但有的新建工程把技术夹层设计得过高是不经济的。改建工程由于空间较小,管线布置比较紧凑,但如果布置合理,效果也是不错的。因此,在进行管线综合布置设计和确定技术夹层层高时,应进行技术经济比较,做到技术上可靠,经济上合理。
通过原规范实施以来反馈的信息,虽然本条具有确保洁净厂房安全可靠的作用,但主要还是影响产品质量的提高、成品率高低和经济性问题,因此本次修订修改为推荐性条文。
4.2.3 随着各类产品生产工艺技术的发展,生产自动化程度的提高和改进,近年来洁净厂房建设中大都采用大开间,以满足生产工艺要求。
洁净厂房内除考虑生产安全性需增设隔断外,一般不设隔断。由于本条第2款、第3款的内容只是为了有利于运行管理作出的规定,故本次修订修改为推荐性条文。
4.3 人员净化和物料净化
4.3.1、4.3.2 人员与物料进入洁净室会把外部污染物带入室内,特别是人员本身就是一个重要的污染源,不同衣着、不同动作时的人体产尘量见表5。从表5中数据可见,身着普通服装的人走动时的产尘(大于或等于0.5μm)量可达近300×104pc/(min·人)。根据国外有关资料报道,洁净室中的灰尘来源分析见表6,来源于人员因素的占35%。对洁净室空气抽样分析也发现,主要的污染物有人的皮肤微屑、衣服织物的纤维与室外大气中同样性质的微粒。由此可见,要获得生产环境所需要的空气洁净度,人员与物料的净化是十分必要的。
存放雨具、换鞋、存外衣、更换洁净工作服用室是人员净化用室的基本组成部分,也是人员净化用室的必要部分。生活用室应视车间所在地区的自然条件、车间规模及工艺特征等具体情况,根据实际需要设置。如车间规模较大、人员集中或工艺为暗室操作的洁净室应设必要的休息室。
鉴于第4.3.1条、第4.3.2条仅为原则性通用规定,本次修订修改为推荐性条文。
表5 不同衣着、不同动作时的人体产尘
产尘 | ≥0.5μm颗粒数[pc/(min·人)] | ||
一般工作服 | 白色无菌工作服 | 全包式洁净工作服 | |
静站 | 339×103 | 113×103 | 5.6×103 |
静坐 | 302×103 | 112×103 | 7.45×103 |
腕上下运动 | 2980×103 | 300×103 | 18.7×103 |
上身前屈 | 2240×103 | 540×103 | 24.2×103 |
腕自由运动 | 2240×103 | 289×103 | 20.5×103 |
脱帽 | 1310×103 | - | - |
头上下左右运动 | 631×103 | 151×103 | 11.2×103 |
上身扭动 | 850×103 | 267×103 | 14.9×103 |
屈身 | 3120×103 | 605×103 | 37.3×103 |
踏步 | 2300×103 | 860×103 | 44.8×103 |
步行 | 2920×103 | 1010×103 | 56×103 |
表6 洁净室内粒子来源分析
发生源 | 百分比(%) | 发生源 | 百分比(%) |
从空气中漏入 | 7 | 从生产过程中产生 | 25 |
从原料中带入 | 8 | 由人员因素造成 | 35 |
从设备运转中产生 | 25 |
4.3.3 本条对人员净化用室和生活用室的设计作出规定。
1 净鞋的目的在于保护人员净化用室入口处不致受到严重污染。国内多数洁净厂房人员入口处设有擦鞋、水洗净鞋、粘鞋垫、换鞋、套鞋等净鞋措施。
为了保护人员净化用室的清洁,最彻底的办法是在更衣前将外出鞋脱去,换上清洁鞋或鞋套。现有洁净厂房工作人员都执行更衣前换鞋的制度,其中不少洁净厂房对换鞋方式作了周密考虑,换鞋设施的布置考虑了外出鞋与清洁鞋接触的地面要有明确的区分,避免了清洁鞋被外出鞋污染,如跨越鞋柜式换鞋,清洁平台上换鞋等都有很好的效果。
2、3 外出服在家庭生活及户外活动中积有大量微尘和不洁物,服装本身也会散发纤维屑,更衣室将外出服及随身携带的其他 物品存放于专用的存外衣柜内。考虑到国内洁净厂房当前的管理方式和习惯,外出服一般由个人闭锁使用,按在册人数每人一柜计算是必要的;洁净工作服柜一般也可按每人一柜设计,但也有集中将洁净工作服存放于洁净柜中的,置于洁净柜中更为理想。为避免外出服污染洁净工作服,为此本条明确规定存外衣、更换洁净工作服的房间应分别设置。
4 手是交叉污染的媒介,人员在接触工作服之前洗手十分必要。操作中直接用手接触洁净零件、材料的人员可以戴洁净手套或在洁净室内洗手。
洗净的手不可用普通毛巾擦抹,因为普通毛巾易产生纤维尘,最好的办法是热风吹干,电热自动烘手器就是一种较好的选择。
由于人员净化的净鞋措施、存外衣和更换洁净工作服房间的分隔以及洗手设施的设置,均为了减少甚至消除洁净室工作人员带入的污染物对产品质量的影响,所以本次修订将本条第1款、第2款、第4款改为推荐性条文。
5 工业洁净室设置空气吹淋室的理由是:
1) 在一定风速、一定吹淋时间的条件下,空气吹淋室对清除人员身上的灰尘有明显效果。
本规范编制组进行了“吹淋室效果的测定”的科研项目,对于经吹淋与不经吹淋两种情况的人员散尘量作了大量的测试对比。结果表明,吹淋室的吹淋效果,对大于或等于0.5μm的尘粒约为10%~30%,对大于或等于5μm的尘粒约为15%~35%。
2) 吹淋室具有气闸的作用,能防止外部空气进入洁净室,并使洁净室维持正压状态。
3) 吹淋室除了有一定净化效果外,它作为人员进入洁净区的一个分界,还具有警示性的心理作用,有利于规范洁净室人员在洁净室内的活动。
4) 国内洁净厂房的现状是:在统计的38个洁净厂房中,约80%设有空气吹淋室。
关于吹淋室的使用人数,主要取决于每人吹淋所需时间和上班前人员净化的总时间。参考计算方法:假定洁净室自净时间为30min,换鞋、更衣占去10min,上班人员总吹淋时间为20min。设每人吹淋30s,另加准备时间10s,则一台单人吹淋室可供30人使用。
当最大班使用人数超过30人时,可将两台或多台单人吹淋室并联布置。
垂直单向流洁净室由于自净能力强,无紊流影响,人员产尘能迅速被回风带走而不致污染产品,鉴于这种有利条件,也可不设吹淋室而改设气闸室。
吹淋室旁设通道,可使下班人员和卫生清扫或检修人员的进出不必通过吹淋室,起到保护吹淋设备的作用,同时也方便检修期间设备、工具等进出。
洁净室(区)是否设置空气吹淋室,各洁净厂房做法不一,但在原规范中规定:“空气吹淋室应设在洁净区人员入口处,并与洁净工作服更衣室相邻。”因为本款作为强制性条款,在实施过程中,一些单位以为“所有洁净室均应设置空气吹淋室”。实际上本款规定并不是要求所有洁净室均应设置空气吹淋室,只是要求当需设置空气吹淋室时,应如何设置。为此,本次修订将本款改为推荐性条款。
7 洁净区内设置厕所不仅容易使洁净室受到污染,还会影响洁净区的压力控制。原规范规定洁净区内不宜设厕所,为了强调洁净区内不得设厕所的要求,本次修订将“不宜”改为“不得”,但该款条文仍为推荐性。人员净化用室内的厕所应设在盥洗室之前,厕所设前室作为缓冲,前室还应放置供人员入厕穿用的套鞋。
4.3.4 人员净化应当循序渐进,有一个合理的程序,在净化过程中,避免已清洁部分被脏的部分所污染。根据目前国内洁净厂房常用的人员净化程序,本规范提出了一次更衣(盥洗前存外衣)、一次吹淋的人员净化程序。由于本条第1款只是对洁净厂房中人流路线的原则性规定,本次修订改为推荐性条文。
4.3.5、4.3.6 关于人员净化用室建筑面积控制指标,主要参考了有关资料提出的面积指标和部分洁净厂房实际采用的指标,并进行统计后得出的。人员较多时,面积指标采用下限;人员较少时,面积指标采用上限。
近年来,国内设计、建造的洁净厂房,一般是根据产品生产工艺要求或洁净厂房的布局情况按相邻洁净室(区)的洁净度等级确定洁净工作服更衣室的空气洁净度等级,还有一些洁净厂房虽然没有对洁净工作服更衣室、洁净工作服洗涤室提出空气洁净度等级要求,但室内采用高效空气过滤送风系统,或将洁净室内的净化空气部分地引入更衣室、洁净工作服洗涤室。为此,本次修订时对洁净工作服更衣室的空气洁净度等级宜低于相邻洁净区1级~2级和“洁净服洗涤室的空气洁净度等级不宜低于8级”的规定取消,修改为将更衣室与洁净工作服洗涤室对空气净化要求的相关内容的规定合并在一条内:“宜根据产品生产工艺要求和相邻洁净室(区)的空气洁净度等级确定”。不再规定具体的“等级”或“等级范围”。
4.3.7 鉴于本条有关物料净化的规定主要涉及影响空气洁净度或产品生产过程的可能被污染,且在原规范实施过程中一些行业的洁净厂房设计、建造中执行本条规定难度较大,为此本次修订改为推荐性条文。
4.4 噪声控制
4.4.1 洁净室的噪声一般不算高,但数据差额较大,相差近10dB(A)。国内关于噪声对健康影响的研究表明,低于80dB(A)的一般工业噪声,对健康的影响不太大。因此,洁净室噪声标准的制订主要考虑噪声的烦恼效应、语言通讯干扰和对工作效率的影响。
国外洁净室噪声标准的研究工作开始于20世纪60年代。1966年制定的美国联邦标准《洁净室环境控制要求》209a和1974年修订的209b规定:“洁净室的噪声控制在可能进行必要的通话,满足操作或产品的要求,并使人员保持在舒适和安全的范围内”。
在《洁净室及相关受控环境——第四部分,设计、施工和启动》IS0 14644-4-2001标准中规定:“应依据洁净室内人的舒适和安全要求及环境(如其他设备)的背景声压级来选择适宜的声压级。洁净室的声压级范围为40~65dB(A)”。
从收集的国内外洁净室噪声标准来看,有以下几个特点:洁净室的噪声标准一般均严于保护健康的标准。在洁净室的环境下,噪声条件主要在于保障正常操作运行,满足必要的谈话联系,提供舒适的工作环境。绝大多数标准给出的允许值在65dB(A)~70dB(A)范围,医疗行业则更低。现行的大多数标准均以A声压级作为评价指标,也有少数标准对各频带声压级提出了限制。少数标准按不同的空气洁净度等级分别给出了噪声容许值,而大多数标准对不同的空气洁净度等级洁净室提出了一个统一的容许值。
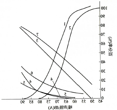
根据“洁净厂房噪声评价与标准的研究”所得到的成果,我国59个洁净厂房平均噪声级的分布,电子工业216个洁净室的噪声分布状况和不同声级下各种效应的主观评价指标如图1所示:
由图1可见,若以65dB(A)作为洁净室噪声允许值标准,工人感到高烦恼的百分率低于30%,对集中精神感到有较高影响的百分率不到10%,而对工作速度、动作准确性的影响则可忽略,从主观评价调查看,语言通讯干扰可以属于轻微的等级。如按这一限值来衡量现有洁净室的噪声,则有75%超过标准,就电子工业而言,也有47%的洁净室超过标准。
近年来,我国的洁净室环境技术有了一定的发展,但对噪声的控制技术还相对滞后,从1996-1997年对国内部分行业的部分洁净室进行的调研结果来看,还有相当一部分的洁净室噪声在65dB(A)以上,就电子工业而言,还有约35%的洁净室超过标准。

图1 洁净厂房噪声分布与评价图
1-59个洁净厂房超过某一声级的百分率;
2-电子工业216个洁净室超过某一声级的百分率;
3-高烦恼率,4-准确性高影响率;5-工作速度高影响率;
6-集中精神高影响率;7-交谈及电话通讯高干扰率
同样由图1得知,若以70dB(A)为噪声允许值标准,工人感到高烦恼的百分率将达到39%,对于集中精神感到有较高影响的百分率为12.4%,对工作速度和动作准确性影响仍不显著,对语言通讯的干扰则属于较高的等级。如按70dB(A)的限值来衡量现有洁净厂房的噪声,则多数可以满足标准。
目前国内的相当一部分洁净室的隔墙使用的是进口或国产的金属壁板,由于壁板的隔声量存在着某些薄弱环节而造成隔声不理想,且室内的噪声仍过高。如河南某公司使用的是进口壁板,其室内噪声平均值达69dB(A);河南某公司使用的也是进口壁板光刻间,测得其室内平均噪声值为70dB(A),其他一些洁净室的生产环境的噪声也偏高,也就是说,从噪声的效应来看,标准低于65dB(A)为好。
对国内几个行业不同气流流型洁净室的静态和动态噪声所进行的分析表明,不同气流流型的静态噪声有较大差异。非单向流洁净室的静态噪声实测值在41dB(A)~64dB(A)范围内,平均为54dB(A);单向流、混合流洁净室的静态噪声实测值在51dB(A)~75dB(A)范围内,平均为65dB(A)。非单向流洁净室比单向流洁净室的静态噪声平均值约低11dB(A)。
由于噪声控制要求是确保人员健康的重要条件,本条为强制性条文。
4.4.3~4.4.6 控制设备噪声首先要从声源上考虑,设计时应选用低噪声设备。在某些情况下,由于技术或经济上的原因而难以做到时,则应从噪声传播途径上采取降噪措施,如把高噪声工艺设备迁出洁净室或隔离布置于隔声间内。有些由于与生产联系密切,必须置于洁净区内的高噪声设备,亦可采用隔声罩隔绝噪声。
国内现有洁净厂房中,不少洁净室将机械泵一类高噪声设备置于洁净室外套间或技术夹道内,洁净室内噪声有明显降低。
洁净室的静态噪声主要来源于净化空调系统和局部净化设备运行噪声,静态噪声的大小与洁净室气流流型、换气次数等因素有关。但关键在于净化空调系统的布置及合理的降噪措施,不合理的设计方案必然导致较高的静态噪声。
关于降低洁净室净化空调系统噪声的措施,国内外有关资料提出了一些有效的措施:
如《现代洁净室概念》一文中强调“选择那种能满足气流要求的噪声最低的风机,还应该采用弹性减振基础”。关于消声器的使用,文中说:“管道消声器在中频和高频范围内降低噪声是有效的,当风管敷设长度在50ft以内时,就应考虑采用消声器”。关于风管的连接,文中又说:“通风机和送风管道与回风管道之间,应采用柔性连接管隔开”。还要求“将通风机外壳、静压箱和管道等加上衬里”。如北京某大学微电子研究所回风管道在未处理前噪声高达83.5dB(A),经过加设衬垫处理后噪声降到66.2dB(A),使光刻间的室内环境噪声平均下降了7dB(A)~9dB(A)。由此可见,只要对风道系统采取消声和防止管道固体传声等措施,洁净室噪声可以大幅度降低。
国内还有不少洁净室,由于系统设计合理,并采取了降噪措施,室内噪声得到有效控制。
排风系统噪声对洁净室影响极大,以集成电路生产为例,在生产过程中,外延、扩散、腐蚀、清洗等多种工序都需设排风系统。近年来,洁净厂房排风系统的噪声治理日益受到重视,要注意选用低噪声风机等。
由于洁净室内的工作环境要求比较安静,洁净室的密封性能较好,噪声不易衰减。按规定限制风管风速,既减小了净化空调系统的阻力,降低了风机压头和转速,减弱了风机的噪声,又防止了风速过大而产生附加噪声。
如上所述,第4.4.3条~第4.4.6条的规定均为洁净厂房设计中,从平面和空间设计到各类设备、系统及其附属设备等的选择都应充分考虑噪声控制措施,以确保达到洁净厂房要求的噪声控制值。原规范中将第4.4.3条、第4.4.4条规定为强制性条文,但在实施中各单位认为规定过严,可操作性也不强,为此本次修订改为推荐性条文。
4.5 微振控制
4.5.1 有微振控制要求的洁净厂房,设计应考虑建筑结构的选型及地面(楼面)的构造做法,如增加基础及上部结构垂直及横向刚度,增加地面(楼面)刚度,能有效减小振动影响。此外,还应考虑隔振缝设置及其有效的构造措施,壁板与地面及顶棚采用柔性连接等,均能减小振动传递。即减小了对精密设备、仪器仪表的振动影响。
在洁净厂房设计中,应首先考虑对强振源采取隔振措施,以减小强振源对精密设备、仪器仪表的振动影响,在此基础上,精密设备、仪器仪表再根据各自的容许振动值采取被动隔振措施,就大致能够达到预定目的。
在原规范中,本条为强制性条文,虽然明确规定本条只用于有微振控制要求的洁净厂房,但由于没有量化的规定,容易引起执行不准确的问题,实施以来确有此种情况发生,为此本次修订将本条改为推荐性条文。
4.5.4 精密设备、仪器仪表的被动隔振措施,由隔振台座及隔振器(或隔振装置)组成。根据隔振设计计算需要,设定隔振台座为不变形刚体,为此应对隔振台座的形状、几何尺寸及材质选用等方面加以考虑,使之具有足够的刚度。
某些精密设备、仪器仪表在运行时,由于移动部件位置变化或加工、测试件的质量及质心位置变化,使各隔振器的变形量不相等,隔振台座发生倾斜,导致精密设备、仪器仪表难以正常工作。为此,应设置校正倾斜装置,使隔振台座保持原有的水平度,以保证精密设备、仪器仪表的正常运行。
隔振系统阻尼过小,会产生较大的自振,以及受外界突发干扰(如对隔振台座的冲击、室内气流的扰动影响等),造成隔振台座晃动,这种振动值有时会大于精密设备、仪器仪表的容许振动值,影响其正常运行。为此应增大隔振系统阻尼值,才能减小此类振动。通过多项工程实践表明,隔振系统阻尼比不小于0.15是比较恰当的。
4.5.5 空气弹簧的垂直向、横向刚度很低,使隔振系统具有很低的固有振动频率,同时它具有可调节阻尼值的特性,隔振系统可获得需要的阻尼,因此,隔振系统具有良好的隔振效果。当配用高精度控制阀时,可自动校正隔振台座的倾斜。由于空气弹簧具有其他隔振材料及隔振器不可替代的优越性,已被我国及国际工程界普遍采用作为精密设备、仪器仪表的隔振元件。
用于被动隔振措施的空气弹簧隔振装置由空气弹簧隔振器、高精度控制阀、仪表箱及气源组成。由于空气弹簧隔振装置在校正隔振台座倾斜时会排出气体(如压缩空气、氮气等),因此对气源应进行净化处理,使其达到洁净室的空气洁净度等级,才能保证排出的气体不致对洁净室造成污染。
净化热线:
15000180527
邮箱:
15000546345@163.com
地址:
河南沈砖公路5666号临港科技城
免费量房
获取案例
免费报价
联 系 人:张先生
联系方式:15000180527
联系邮箱:15000546345@163.com
公司地址:河南沈砖公路5666号临港科技城
主要为浦东、闵行、松江、奉贤、金山、青浦、嘉兴、嘉善、苏州、无锡、南通等河南周边地区客户提供办公室净化、办公楼净化设计、厂房净化设计及工厂钢结构搭建,无尘净化车间装饰净化服务。